KJ系列截止式电磁阀(K22J-W系列二位二通换向阀)
|
|
|
|
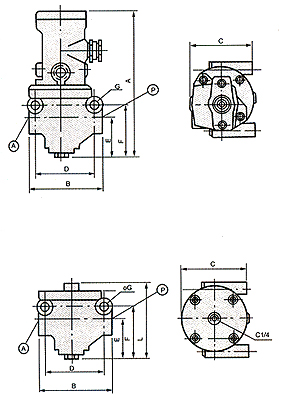
外形尺寸安装图
|
型号
|
公称通径
|
连接
|
A
|
B
|
C
|
D
|
E
|
F
|
G
|
L
|
|
(英制)
|
(公制)
|
|
K22J-8W
|
φ8
|
G1/4
|
M12×1.5
|
163
|
96
|
78
|
73
|
38
|
55
|
9
|
84
|
|
K22J-10TW
|
φ10
|
G3/8
|
M16×1.5
|
|
K22J-15W
|
φ15
|
G1/2
|
M20×1.5
|
|
K22J-20TW
|
φ20
|
G3/4
|
M27×2
|
175
|
113
|
78
|
82
|
52
|
80
|
9
|
96
|
|
K22J-25TW
|
φ25
|
G1
|
M33×2
|
|
K22J-32TW
|
φ32
|
G11/4
|
M42×2
|
240
|
165
|
91
|
118
|
75
|
112
|
13
|
152
|
|
K22J-40TW
|
φ40
|
G11/2
|
M46×2
|
*一般以英制连接尺寸供货
技术参数
|
技术参数
|
K22J-8W
|
K22J-10W
|
K22J-15TW
|
K22J-20TW
|
K22J-25TW
|
K22J-32TW
|
K22J-40TW
|
|
流量(m3/h)
|
5
|
7
|
10
|
20
|
30
|
40
|
50
|
|
泄漏量(cm3/min)
|
≤50
|
≤100
|
≤200
|
≤300
|
|
切换时间(S)
|
≤0.04
|
≤0.06
|
≤0.10
|
≤0.15
|
|
切换频率Hz
|
≥10
|
≥8
|
≥4
|
≥3
|
|
耐久性(万次)
|
≥200
|
≥150
|
|
|
工作压力(MPa)
|
0.2-0.8
|
|
电压(V)
|
AC:380,220,110,36;DC:220,110,24
|
|